What is and how to change profile rolling options for thermally insulated profiles?
Schuco thermally broken profiles can be ordered in one of three rolling codes:
| SV | Schuco pre-rolled (Schüco Verbund) | Composite profiles are delivered rolled and coated already. Schuco coats half bars and rolls it all together. | 
| WV | Pre-rolled (Werksverbund) | Composite profiles are delivered rolled already, mill finish. Customer coats the composite profile, avoiding exceeding 180C during coating. | 
| KV | For rolling by customer (Kundenverbund) | Half bars and thermal bars are delivered separately, customer coats it and rolls together. | 

Rolling Procedure
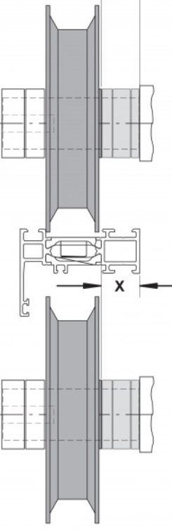
| Half profile | Thermal bar | Roller (Isomat) | Rolled profile | |||
![]()  | + | ![]()  | ![]()  | = | ![]()  | 
Rolling code vs Schucal
In SchuCal you have two ways of setting rolling code: Setting the rolling code for each profile in the calculation or global configuration of rolling code for each profile.
First method: Rolling code for profile in calculation.
Switch to Pre-rolled profile code tab in Item properties window. You can see the listing of all thermally broken profiles used in calculation. Drop down the setting for each profile you need and set proper rolling code:

Setting for Outer frame as Pre-Rolled only (WV):

On the order list we can see one position 382150:

Setting for Outer frame as For rolling by customer (KV):

On the order list we can see that outer frame 382150 is exploded into for bars: two half aluminum half profiles 345060 + 345160 and two thermal bars 284012 + 284036:

Setting for Outer frame as Pre rolled by Schüco (KV):

On the order list we can see one position M382150PT that refers to one compound coated and then rolled profile using PT thermal bar:

Second method: global configuration of rolling code
Go to General > Master data > Pre-rolled profile code

Type in search bar or slide the list and locate compound profile, in our case 382150. After selecting this profile set required rolling code by one of three buttons at the top of the window: For rolling by customer (KV), Schuco pre-rolled only (SV) or Pre-rolled only (WV):

Confirm Close.
Since now in each calculation all 382150 O-Frame 44 profiles rolling code will be set according to this setting.
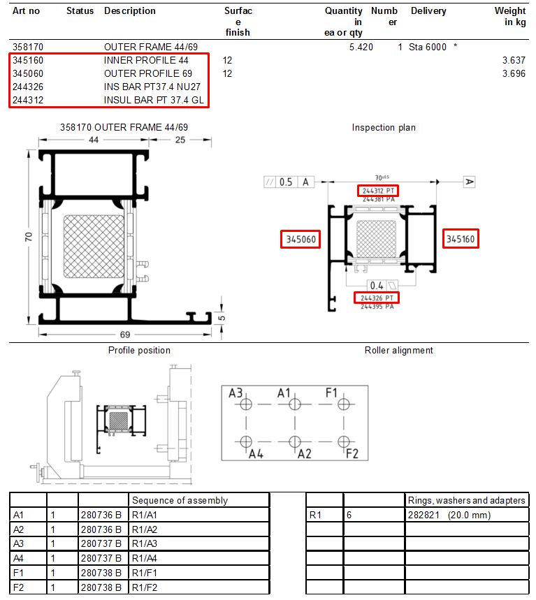
If you decided to order profiles For rolling by the customer you need to set up your Roller (Isomat). Schucal will prepare all documentation needed for that.
After setting correct Pre-rolled profile code for thermally broken profiles go to Output > Other lists > Profile lists for isomats:

On Output options window select Roller plan checkbox on and under Isomat select Isomate type for which you want to generate setup documentation (Isomat 3, 4, or 5):

Click OK. Schucal will prepare Isomat set-up document including Isomat rings order numbers and install location on Isomat for all thermally broken profiles in calculation.





